发布日期:2024-09-26 / 点击次数:668
北京办公楼门禁系统安装公司怎么选?凯源恒润北京监控安装工程公司从接线开始展现专业!
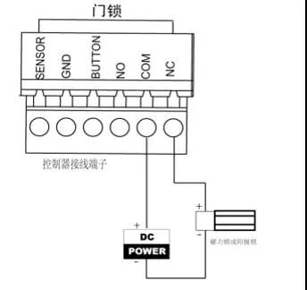
现在常用于门禁系统的电锁分为两种:通电开锁和断电开锁型,前者在通电的情况下为开门状态,后者则通过自动切断电源进行开门。不过在安防行业中,消防用电锁一般要求断电开门,一旦发生火灾时,电路断电,门可以自动打开。因此一般安防企业在研发产品时都会推出两种开关模式,以此适应用户的不同需求。下面我们来介绍一下门禁电插锁安装接线方式与使用注意事项:二、门禁系统接线方式是怎样
了解了门禁电锁的工作原理,我们知道门禁电锁的开锁方式种类不同,接线方式也分为两种,依据电锁的接线口,一般情况下电插锁、磁力锁等通过加电来开锁的类型,连接NC端口,而电控锁、阴极锁等加电开门类的电锁接NO端口。
在安装过程中,值得注意的是锁状态线和门状态线。锁状态线连线可以提供锁的闭合信息,与门禁控制器的数字输入接口联动,可以实时查看锁的闭合状态。门状态连线很好的替代了另行安装门磁的问题,降低了安装成本,提高了系统使用效率。
需要注意的是,很多门禁电锁上面有专门的延时设置跳线或拨码装置,可以设定电锁的延时时间,但大多数门禁及对讲系统也有延时设置功能,所以在安装电锁时也最好考虑到延时设置,让用户的使用更为舒心。

门禁系统是在智能建筑领域,意为Access Control System,简称ACS。指“门”的禁止权限,是对“门"的戒备防范。这里的“门”,广义来说,包括能够通行的各种通道,包括人通行的门,车辆通行的门等。因此,门禁就包括了车辆门禁。在车场管理应用中,车辆门禁是车辆管理的一种重要手段,不以收取停车费为目的,主要是管理车辆进出权限。 出入口门禁安全管理系统是新型现代化安全管理系统,它集微机自动识别技术和现代安全管理措施为一体,它涉及电子,机械,光学,计算机技术,通讯技术,生物技术等诸多新技术。它是解决重要部门出入口实现安全防范管理的有效措施。适用各种机要部门,如银行、宾馆、车场管理、机房、军械库、机要室、办公间,智能化小区,工厂等。 门禁系统早已超越了单纯的门道及钥匙管理,它已经逐渐发展成为一套完整的出入管理系统。它在工作环境安全、人事考勤管理等行政管理工作中发挥着较大的作用。 二,门禁一体机接锁 三,门禁主机(含一体机)接读卡器 四,门禁主机读卡器接线——手拉手 五,读卡器拨码 六,门禁一体机通讯设置 七,门禁主机(含一体机)接门磁 1、锁的接线(如YB100电插锁、YH280KG磁力锁等常闭锁),锁的正极接在门禁专用电源的NC端上;锁的负极接在门禁专用电源的GND端上。 2、中控门禁机接线(如:F2、F201、F8、SC102、SC103、F7等中控门禁机),中控门禁机的+12V(红色)接门款专用电源+12V;中控门禁门的GND(黑色)接门禁专用电源GND;中控门禁机的NO(蓝色)接门禁专用电源PUSH;中控门禁机的COM(红色)接门禁电源专用电源GND。 注:中控门禁机的GND和COM可以并接在一起,然后同时接到门禁专用电源上的GND上。 锁由中控门禁机直接供电 八,门禁主机接开门按钮 九,门禁一体机接开门按钮 开门按钮原理 开门按钮按下,给门禁一体机一个闭合信号,此时门禁一体机开门按钮对应继电器状态接改变,实现开门。 开门按钮线 开门按钮PRESS接BUTTON,TO EXIT接GND(不区分正负极)

北京弱电系统工程中内网、外网、智能化网有什么区别?凯源恒润北京监控安装工程公司教你如何区分!
北京弱电系统工程中内网、外网、智能化网有什么区别?凯源恒润北京监控安装工程公司教你如何区分...
2025-11-2775

为什么监控系统巡检做得那么勤,监控设备还经常出故障?凯源恒润北京监控安装工程公司认为可能忽视了三大指标!
为什么监控系统巡检做得那么勤,监控设备还经常出故障?凯源恒润北京监控安装工程公司认为可能忽...
2025-11-2351

北京产业园、科技园区智慧安全系统安装找凯源恒润北京监控安装工程公司,为园区提供全方位安全防护体系!
北京产业园、科技园区智慧安全系统安装找凯源恒润北京监控安装工程公司,为园区提供全方位安全防...
2025-11-18107

北京综合布线系统工程如何进行算量?凯源恒润北京监控安装工程公司分享项目工程经验!
北京综合布线系统工程如何进行算量?凯源恒润北京监控安装工程公司分享项目工程经验! 一...
2025-11-14100