发布日期:2025-12-09 访问量:288
北京三甲医院智能化系统运维解决方案-凯源恒润北京监控安装工程公司
运维现状问题
北京某三甲医院作为一所新建的“大专科、小综合”三级甲等专科医院,在快速发展的过程中,信息化系统规模不断扩大,设备类型多样、系统复杂,运维管理面临诸多挑战:01运维效率低下
传统人工巡检和故障处理方式耗时长、效率低,难以满足医院7×24小时业务连续性的要求;02系统监控分散
网络设备、服务器、安全设备、数据库等缺乏统一监控平台,故障发现滞后,影响诊疗业务正常运行;03网络安全风险高
医疗终端接入复杂,IP地址管理混乱,存在非法接入和网络攻击隐患;04故障定位困难
多系统独立运行,故障发生时难以快速定位根因,影响故障恢复时间;05资源配置不透明
IP地址、机柜空间、设备资产等缺乏可视化管理和生命周期管理,资源利用率低;06缺乏智能预警能力
无法对系统异常进行预测和主动预警,运维工作处于被动响应状态;07运维数据缺乏分析支撑
历史运行数据未能有效利用,缺乏数据驱动的决策支持,难以实现运维优化和持续改进;
解决方案
01个性首页展示,全局视角数据感知
智能运维管理平台为北京某三甲医院不同角色人员量身打造个性化运维看板,提供丰富组件模板与灵活编排部署,快速构建全面可视化界面,提升运维效能。首页以动态、炫酷、个性化配置为核心,实现按角色差异化展示,涵盖全局一览实时掌握IT资源运行状态、核心设备分类监控(包括网络与安全设备)、数据分析多维度统计(趋势分析、TOPN数据、关键指标列表)、故障总览按SLA级别与责任人多维度可视化跟踪,助力快速定位与解决故障。支持自定义首页框架与多种内建组件(如资源总览、性能雷达、第三方系统嵌入等),灵活适配医院运维场景,并通过URL嵌入实现第三方系统无缝跳转,简化多系统协同操作,全面保障医疗信息系统稳定、高效运行。

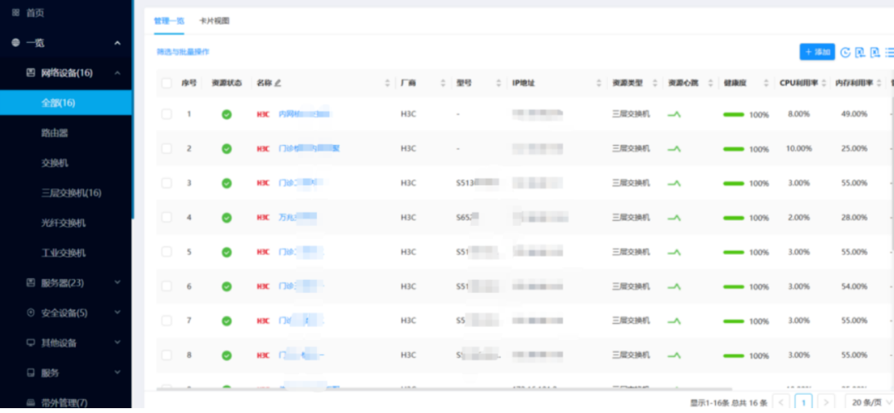
02网络设备管理,保障医疗网络高效稳定
平台为北京某三家医院提供全方位网络设备监控,通过数据列表与可视化卡片形式直观呈现设备运行状态,告别枯燥文字,实现高大上的可视化管理。平台支持多厂商设备统一监控(包括思科、华为、华三等主流品牌),覆盖路由器、交换机、光纤交换机等类型,通过出厂默认模板库构建多维度指标监控体系,实时掌握CPU、内存、接口流量等关键性能数据,预防系统异常。端口管理模拟真实设备背板,通过颜色变化直观展示接口状态、流量速率、错包率及VLAN连接关系,并可远程启停端口(需设备写权限),在异常流量时快速介入,保障医疗网络稳定性与业务连续性。

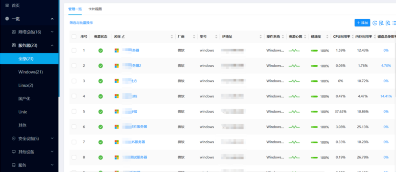
03服务器监管,保障医疗业务系统稳定运行
智能运维管理平台为北京某三家医院提供全维度服务器监控解决方案,全面覆盖Windows、Linux、CentOS、UNIX及信创国产化系统(包括麒麟、UOS统信、华为欧拉等),实现对物理服务器、云服务器及虚拟化环境的统一监管。平台通过集中非代理式监测技术,无需安装代理软件即可实时动态采集CPU、内存、磁盘、进程、网络流量等关键性能指标,以可视化动效直观展现硬件状态与运行趋势,助力运维人员快速发现故障隐患。支持磁盘空间容量与使用率精准监控、关键进程运行状态追踪及异常终止实时告警,确保医疗业务系统持续稳定,为医院信息化服务提供一站式运维保障。

04硬件设备感知,全面守护医疗设备稳定
智能运维管理平台为北京某三家医院提供基于IPMI、Redfish、Snmp协议的带外硬件深度监控能力,实时监测服务器硬件健康状态,通过图形化界面直观展现数据并支持异常告警。平台支持远程硬件状态查询与操控,运维人员无需抵达机房即可实时查看电源、温度、电压等参数,并可远程执行重启、关机等操作,极大提升医疗设备维护效率。通过IPMI带外设备与服务器的CI关系联动,实现硬件监控信息自动关联展示,简化运维流程,确保医院硬件系统稳定运行,有效保障医疗数据安全与业务连续性。
05安全设备智能管控,筑牢医疗网络安全防线
智能运维平台为北京某三家医院提供全维度网络安全设备统一监控能力,支持防火墙、负载均衡、入侵检测、VPN等多元安全设备的秒级心跳检测与性能实时监测(包括CPU、内存、磁盘及网络流量等核心指标),并通过端口状态管理精准追踪每个端口的连接设备与流量数据,实现安全设备运行状态的可视化管控。平台以分类列表形式集中展示各类安全设备,全面覆盖网络故障、性能及运行异常监测,助力医院快速发现并处置安全风险,保障医疗网络系统稳定与数据安全。
06多库兼容性能优化,保障医疗数据核心稳定
智能运维平台支持对Oracle、MySQL、SQL Server等传统数据库及人大金仓、达梦等信创国产数据库的统一管理,为北京某三家医院提供全类型数据库一体化监控解决方案,通过实时监控数据库会话、活跃事务、阻塞活动、锁状态等关键性能指标,结合表空间容量规划与使用预警,深度感知数据库健康状态与潜在风险。平台提供多维度性能数据分析与优化依据,助力运维人员快速定位异常连接与性能瓶颈,确保医疗核心数据库高效稳定运行,全面保障医院业务系统数据安全与连续性。
07链路数据实时追踪,保障医疗网络畅通
智能运维平台通过智能发现与链路算法,自动识别端到端接口连接关系,实现对医疗网络链路的实时监控与可视化展示。平台以颜色策略直观呈现链路连通性、上下行速率、带宽流量、丢包率及错包率等关键指标,支持列表与拓扑双视图动态展示链路状态。通过链路故障定位功能快速追踪异常根源,结合设备与端口告警辅助运维人员精准分析;提供带宽利用率监控与历史趋势对比,为核心链路容量规划提供数据支撑,确保延安三院网络稳定运行,保障核心诊疗业务高效畅通。
08全景可视网络架构,赋能医疗网络高效运维
智能运维管理平台为北京某三家医院提供全自动网络拓扑发现与动态生成能力,通过物理、逻辑、机柜、虚拟化等多维度拓扑视图,实时呈现网络设备、服务器及安全设备的物理连接与运行状态。平台以颜色策略直观展示设备与链路异常等级,支持自定义核心业务拓扑视图,实现百级以上设备运行状态一图掌控。通过链路流量可视化与告警提示快速定位故障,助力运维人员精准梳理网络结构、保障医疗核心业务稳定运行,全面提升医院网络运维效率与故障响应能力。
机柜拓扑图
通过模拟真实机房环境与设备摆放位置,实现从机柜-设备-背板端口的全链路可视化管理,实时展示资源性能、资产状态及机柜空间使用率。平台支持设备按实际位置布局,自动匹配真实背板接口,直观呈现机柜占用U数、剩余U数及关键参数告警,彻底告别传统纯数据管理模式,实现"所见即所得"的透明化运维。通过快速定位功能精准映射设备物理位置,大幅提升医疗机房运维效率,保障医院核心业务设备稳定运行。
09故障精准异常预警,构建医疗运维快速响应体系
智能运维管理平台为北京某三家医院构建智能化告警策略体系,通过心跳检测、健康状态监测与故障预测技术,自动识别异常波动并运用根因分析、关联分析实现快速故障定位。平台支持颜色策略变化、声音、邮件等多种告警方式组合,异常抑制功能有效避免误报,历史异常数据保留可追溯三个月告警趋势。内建知识库与故障告警智能联动,提供多级分类解决方案支持关键词搜索与个性化经验上传,故障时主动推荐应急预案,大幅提升医疗系统运维响应效率,保障医院业务连续性。
10多维度可视化报表,驱动医疗运维数据决策
智能运维管理平台为北京某三家医院提供海量数据采集与多维度分析报表功能,通过柱状图、饼状图、折线图等可视化形式生动展示设备资源、应用及服务性能数据。系统预置性能报表、TOPN报表、异常报表等模板,支持按时间、资源类型等多维度自定义报表生成,并可一键导出Excel/PDF/HTML格式便于归档汇报。提供报表订阅与自动邮件发送功能,重要运行数据实时送达指定人员邮箱,助力医护人员无需登录系统即可全面掌握网络运行状态,实现医疗运维数据化决策与资源优化配置,有效保障医疗业务连续性与诊疗效率提升。
11数据驱动智能分析,赋能医疗运维数字化转型
智能运维平台通过AI算法与大数据分析技术,为北京某三家医院提供智能根因分析及智能预测等全方位运维决策支持。平台依托动态基线算法实现秒级海量数据分析,支持实时与历史KPI指标追踪、多设备多指标对比分析及故障现场快速回溯,有效打通医疗数据孤岛。通过资源对比分析与运行瓶颈诊断,助力运维人员精准定位根源问题,提前发现故障隐患趋势,推动运维模式从事后处理向事前预警转型,全面提升医院IT系统运行稳定性与医疗业务连续性保障能力。
12AI智能巡检,全面提升医疗设备运维效能
平台为北京某三家医院打造定制化智能巡检体系,支持按设备类型与巡检需求自定义周期性与定点检测任务,彻底替代传统人工重复巡检模式。平台通过预设标准值模板进行自动化数据采集与分析,实现定期巡检与实时监测双模式运行,并以可视化报表直观展示巡检结果。支持导出巡检报告,避免纸质记录弊端,有效规范医疗设备巡查流程,助力运维人员精准掌握网络设备运行状态与潜在风险,保障医院核心业务系统稳定运行与诊疗服务连续性。
13IPMAC精准绑定,全面保障医疗网络接入安全
智能运维管理平台为北京某三家医院提供IP-MAC-PORT全链路智能监管,通过定期扫描网络数据表实时检测终端接入信息(包括IP地址、MAC地址、上联设备及端口),自动识别新增设备、端口变更、黑名单上线等异常行为并即时告警。系统支持三者绑定关系可视化管理,通过颜色策略突出显示基准表与实时表差异,结合端口流量检测与拓扑定位功能,快速追溯异常设备连接位置及影响范围,有效防范非法接入与网络篡改行为,确保医疗终端接入安全性与网络稳定性,为医院业务系统提供可靠的网络接入保障。
14IP地址管理,保障医疗网络资源高效合规利用
智能运维管理平台为北京某三家医院提供IP地址全生命周期自动化管理,通过图形化界面实时展示IP地址占用状态(颜色策略区分正常/异常/闲置状态),替代传统手动记录模式。系统建立IP基准表实现网段智能监控,自动检测非法接入与地址变更并实时告警;支持IP分配与回收管理(自动标记30天未使用地址)、子网使用率TOPN排序可视化,以及在线IP上联设备追踪功能,确保医疗设备IP资源合规使用与高效分配,有效防止网络冲突与非法接入,保障医疗业务系统稳定运行与网络安全。
15配置管理,保障医疗网络设备配置安全
智能运维管理平台为北京某三家医院提供网络设备配置全生命周期管理,通过SNMP协议自动备份各类设备配置文件,支持手动与定期自动备份双模式。系统通过基准文件对比实时监测配置变更,以红绿状态灯直观显示变化状态,异常变更即时告警;支持一键恢复任意历史版本配置,大幅降低因误操作或设备故障导致的业务中断风险,确保医疗网络设备配置合规性与稳定性,为核心诊疗业务提供持续可靠的网络支撑。
16可视化多屏联动,打造智慧医疗运维指挥大脑
智能运维管理平台为北京某三家医院构建全方位数据可视化大屏体系,内置行业模板与动态组件库,通过拖拽式布局灵活配置核心运维数据看板。平台采用炫酷图形化界面实时呈现资源状态、性能趋势、拓扑关系、安全告警等多元数据,支持多屏轮播与自适应分辨率,满足领导视察、客户参观及日常运维监控场景。支持第三方系统数据无缝嵌入与界面整合,实现医疗IT与业务数据一站式可视化管控,助力医院构建智慧运维指挥中心,提升异常响应效率与决策支撑能力,全面保障诊疗业务稳定运行。
用户实施效益
实现运维自动化,响应效率提升 50% 以上,大幅减少人工干预,降低运维人员重复劳动量。
系统可用性达到 99%,核心业务故障率下降 60%,有效避免因系统故障影响诊疗流程,保障医疗服务连续性。
建立完善网络安全机制,支持IP-MAC-PORT精准绑定,可对异常接入进行实时告警,显著降低网络攻击、越权访问等安全风险。
实现IP地址、机柜空间、设备配置全生命周期可视化管理,让资源分配更合理,减少资源闲置与浪费,提升资源利用率。
基于多维度数据报表与AI分析能力,推动运维决策从“经验驱动”转向“数据驱动”,实现从被动故障处置到主动风险预警的转型。
整体运维成本降低 30%,同时提升医护人员对系统状态的实时感知能力,减少医护人员因系统问题分散的精力,使其更专注于医疗服务本身,为智慧医院长远建设奠定坚实基础

北京大中小学校监控网络与智慧黑板一体化系统解决方案-凯源恒润北京监控安装工程公司
北京大中小学校监控网络与智慧黑板一体化系统解决方案-凯源恒润北京监控安装工程公司 ...
2026-04-11142

北京工厂周界缆式振动光缆周界报警系统解决方案--一凯源恒润北京监控安装工程公司
北京工厂周界缆式振动光缆周界报警系统解决方案--一凯源恒润北京监控安装工程公司 凯源...
2025-11-20644

北京小区停车场管理(车牌识别)系统安装方法及常见故障解决方案-凯源恒润北京监控安装工程公司
北京小区停车场管理(车牌识别)系统安装方法及常见故障解决方案-凯源恒润北京监控安装工程公司...
2025-07-021249

北京科技园工业园区智能配电系统解决方案-凯源恒润北京监控安装工程公司
北京科技园工业园区智能配电系统解决方案-凯源恒润北京监控安装工程公司 在电力系统向数...
2025-06-251309

北京医院智能照明控制系统解决方案-凯源恒润北京监控安装工程公司
北京医院智能照明控制系统解决方案-凯源恒润北京监控安装工程公司 项目特征 效果展示...
2025-06-111001

北京高速公路隧道综合监控运维系统解决方案-凯源恒润北京监控安装工程公司
北京高速公路隧道综合监控运维系统解决方案-凯源恒润北京监控安装工程公司 第一章:痛点...
2025-04-161113

北京商业办公楼综合布线系统解决方案-凯源恒润北京监控安装工程公司
北京商业办公楼综合布线系统解决方案-凯源恒润北京监控安装工程公司 现代写字楼正向综合...
2024-10-301413

北京老旧小区道闸系统主线路网络整改解决方案-凯源恒润北京监控安装工程公司
北京老旧小区道闸系统主线路网络整改解决方案-凯源恒润北京监控安装工程公司 北京老旧小...
2024-10-231806